Polarizers: The "Gatekeepers" ຂອງຫນ້າຈໍ LCD

ໃນເວລາທີ່ທ່ານຊົມເຊີຍຮູບພາບທີ່ມີຊີວິດຊີວາໃນຫນ້າຈໍ LCD, ຮູບເງົາບາງໆທີ່ເບິ່ງຄືວ່າທໍາມະດາແມ່ນມີບົດບາດທີ່ສໍາຄັນ, ແຕ່ຍັງບໍ່ທັນມີບົດບາດ, ກະໂລງພະຍາດ. ສ່ວນປະກອບ optical ທີ່ມີຄວາມຊັບຊ້ອນນີ້ເຮັດຫນ້າທີ່ເປັນ "ປະຕູຮົ້ວທີ່ແນ່ນອນ," ການຄວບຄຸມການເຂົ້າແລະອອກຈາກແສງສະຫວ່າງ, ເຮັດໃຫ້ມັນຂາດບໍ່ໄດ້) ເຕັກໂນໂລຢີ.


ປະຕູຮົ້ວແສງສະຫວ່າງຂອງ Bidirectional

LCDs ອີງໃສ່ຫນ່ວຍບໍລິການ Backlight ສໍາລັບການສ່ອງແສງ. ຫນ້າທີ່ຫຼັກຂອງ Polarizer ແມ່ນສອງຢ່າງ:

ການກັ່ນຕອງການປ້ອນຂໍ້ມູນ (polarizer ດ້ານລຸ່ມ)

ການຄວບຄຸມຜົນຜະລິດ (polarizer ດ້ານເທິງ): ຈຸດສຸມເຄິ່ງ 90 ອົງສາ perpendicular ກັບ polarizer ດ້ານລຸ່ມ. ແສງສະຫວ່າງພຽງແຕ່ສາມາດຜ່ານໄປໄດ້ຖ້າໂມເລກຸນຂອງແຫຼວເຮັດໃຫ້ມີການປ່ຽນແປງເສັ້ນທາງທີ່ຂົ້ວໂລກເພື່ອໃຫ້ກົງກັບ polarizer ທາງເທີງ, ສ້າງຮູບແບບແສງສະຫວ່າງ / ຊ້ໍາເຊິ່ງປະກອບເປັນຮູບພາບທີ່ເບິ່ງເຫັນ.

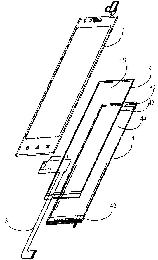
ໂຄງສ້າງຂອງ sandwich ຫ້າຊັ້ນທີ່ຊັດເຈນ "sandwich"

polarizer ແມ່ນຕົວປະສົມທີ່ເຮັດດ້ວຍຄວາມສາມາດຂອງ 5 ຊັ້ນທີ່ເປັນປະໂຫຍດ:

ຮູບເງົາ TAC (Triacettyl Cellulose - ຊັ້ນເທິງ & ຊັ້ນລຸ່ມ): ເຮັດຫນ້າທີ່ເປັນ "ໄສ້ທີ່ແຂງແກ່ນ" ແລະ "optical optical." ສະຫນອງການປ້ອງກັນທາງດ້ານຮ່າງກາຍ (ຄວາມຕ້ານທານ, ຄວາມຊຸ່ມຊື່ນ) ແລະຊົດເຊີຍການບິດເບືອນ optical ເນື່ອງຈາກວ່າມີຄຸນສົມບັດ retrelation ທີ່ຕໍ່າ, ຮັບປະກັນຄວາມບໍລິສຸດແລະມີການບິດເບືອນຮູບພາບ.

ຮູບເງົາ PVA (ເຫຼົ້າ polyvinyl - ຊັ້ນຫຼັກ): "ເຄື່ອງປັ່ນໄຟແສງສະຫວ່າງທີ່ຂົ້ວໂລກ". ໂດຍຜ່ານການຍືດແລະຍ້ອມສີ (ທາດໄອໂອດິນຫຼື dichroic ຫຼື dichroic), ລະບົບຕ່ອງໂສ້ໂມເລກຸນຂອງມັນຈະຖືກຈັດສັນ, ເຮັດໃຫ້ຄື້ນຟອງທີ່ແຂງແຮງຂອງການສັ່ນສະເທືອນຫນຶ່ງໃນຂະນະທີ່ສົ່ງເສີມການແຂ່ງຂັນທີ່ມີຄວາມສຸກ. ຜົນງານຂອງມັນກໍານົດປະສິດທິພາບຂອງ polarizer (ລະດັບຂົ້ວ) ແລະການສົ່ງຕໍ່.

ກາວທີ່ລະອຽດອ່ອນ (PSA): ຕົວແທນທີ່ "ເບິ່ງບໍ່ເຫັນ." laminates laminates ຢ່າງປອດໄພແລະເປັນເອກະພາບໃນການປະກອບຂົ້ວໃນຊັ້ນນອກຂອງແຫຼວ cell ແກ້ວ. ຮຽກຮ້ອງໃຫ້ມີຄວາມໂປ່ງໃສສູງ, ສະຖຽນລະພາບໃນໄລຍະຍາວ, ຄວາມຕ້ານທານອາກາດ, ບໍ່ແມ່ນຄວາມບົກຜ່ອງ, ແລະການສ້າງຕັ້ງບົກຜ່ອງ / ເສັ້ນເລືອດສ່ວນຫນ້ອຍ.

ການປ່ອຍຮູບເງົາ: "ຜູ້ປ້ອງກັນການຂົນສົ່ງ." ໄສ້ສ່ວນຂອງ PSA ຈາກການປົນເປື້ອນແລະກາວໃນລະຫວ່າງການຜະລິດ, ການຂົນສົ່ງ, ແລະບ່ອນເກັບມ້ຽນ. ມັນຖືກປອກເປືອກອອກແລະຍົກເລີກກ່ອນທີ່ຈະເປັນຂະບວນການທີ່ໂດດເດັ່ນໃນໂຮງງານກະດານ.

ວິວັດທະນາການຢ່າງຕໍ່ເນື່ອງສໍາລັບຄວາມຕ້ອງການໃນອະນາຄົດ

ການສະແຫວງຫາຄຸນນະພາບຂອງຮູບພາບທີ່ສູງກວ່າ (4K / 8K, HDR) ມຸມ, ມຸມມອງ, ໂປຼໄຟລ໌ທີ່ເບົາບາງ, ແລະຄວາມຍືດຫຍຸ່ນສູງໃນເຕັກໂນໂລຢີ Polarizer:

ຂໍ້ມູນເບົາບາງ: ການຮັບຮອງເອົາ Thinner Tac ຫຼືອຸປະກອນການທາງເລືອກເຊັ່ນ: cop (cycli Olefin polymer) ຫຼືຮູບພາບສັດລ້ຽງ.

ການປະຕິບັດການປັບປຸງ: ການເພີ່ມປະສິດທິພາບຂອງ PVA ການປະມວນຜົນເພື່ອເພີ່ມອັດຕາສ່ວນການສົ່ງຕໍ່ແລະກົງກັນຂ້າມ.

ມຸມເບິ່ງທີ່ກວ້າງຂວາງ: ການເຊື່ອມໂຍງກັບຮູບເງົາການຊົດເຊີຍແບບເອກະສານເພື່ອຫຼຸດຜ່ອນຂໍ້ຈໍາກັດມຸມຂອງ LCD.

ຄວາມຍືດຫຍຸ່ນ: ການພັດທະນາຂົ້ວທີ່ມີຄວາມຍືດຫຍຸ່ນເຂົ້າກັນໄດ້ກັບການສະແດງທີ່ຫນ້າສົນໃຈແລະຕ່ໍາທີ່ມີຄວາມຍືດຫຍຸ່ນ.


ກ່ຽວກັບ CNK

ສ້າງຕັ້ງຂຶ້ນໃນ SHNZHEN ໃນປີ 2010, CNK Electronics (CNK ໃນ BRIEFTIONTIZATION ທີ່ມີຄວາມຊ່ຽວຊານແລະນະວັດຕະກໍາທີ່ຊ່ຽວຊານດ້ານການອອກແບບ, ການພັດທະນາ, ການຂາຍຜະລິດຕະພັນສະແດງ. CNK ໃຫ້ລູກຄ້າດ້ວຍໂມດູນສະແດງຂະຫນາດນ້ອຍແລະຂະຫນາດກາງທີ່ມີຄ່າໃຊ້ຈ່າຍ, ແລະການບໍລິການທີ່ມີຄຸນນະພາບທີ່ດີເລີດໃນທົ່ວໂລກ. ຮັດກຸມໃນເຕັກໂນໂລຢີແລະຄຸນນະພາບສູງ, CNK ຮັກສາການພັດທະນາແບບຍືນຍົງ, ວຽກງານໃຫ້ການບໍລິການທີ່ດີກວ່າແລະຫມັ້ນຄົງ.


ສົ່ງສອບຖາມ

X
ພວກເຮົາໃຊ້ cookies ເພື່ອສະເຫນີໃຫ້ທ່ານມີປະສົບການການຊອກຫາທີ່ດີກວ່າ, ວິເຄາະການເຂົ້າຊົມເວັບໄຊທ໌ແລະປັບແຕ່ງເນື້ອຫາ. ໂດຍການນໍາໃຊ້ເວັບໄຊທ໌ນີ້, ທ່ານຕົກລົງເຫັນດີກັບການນໍາໃຊ້ cookies ຂອງພວກເຮົາ. ນະໂຍບາຍຄວາມເປັນສ່ວນຕົວ
ປະຕິເສດ ຍອມຮັບ